Microsoft and Qualcomm are looking to launch the full version of Windows 10 running Cellular PC soon.It will be powered byARM-based CPU.These devices will support eSIM connectivity with faster data connectivity through X16 LTE modem.This upcoming laptop from Microsoft, as well as the new patent filed, will help the user to prevent laptop thefts even without the data subscription.
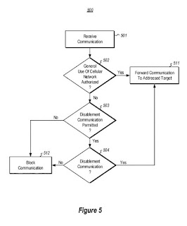
The new patent will allow the user to get back the lost laptop without putting the eSIM.This means that even if a thief removes the eSIM or disable the cellular data, the user will able to make use of function similar to the emergency call that will transmit a signal over the cellular network to the device to disable it.So Microsoft has to partner with all popular cellular service providers for this useful feature.Microsoft has already signed the deal with AT&T, T-Mobile and BT/EE.
Once the command is sent it will disable the laptop, there won’t be any further user intervention to complete the process.There is even a downside with this feature as even if the user disables the data the laptop will not stop tracking the device.
Microsoft will also launch some PCs with SD835 chip and will have always-on LTE mode with longer battery life.This will help Microsoft to bring the Windows OS compatible with ARM ecosystem.


