Several future Apple products may include rollable or scrollable displays, including iPhones, iPads, televisions, desktop displays, and vehicle dashboards. In 2014, Apple began exploring expandable displays, and now the US Patent & Trademark Office has published the patent application.
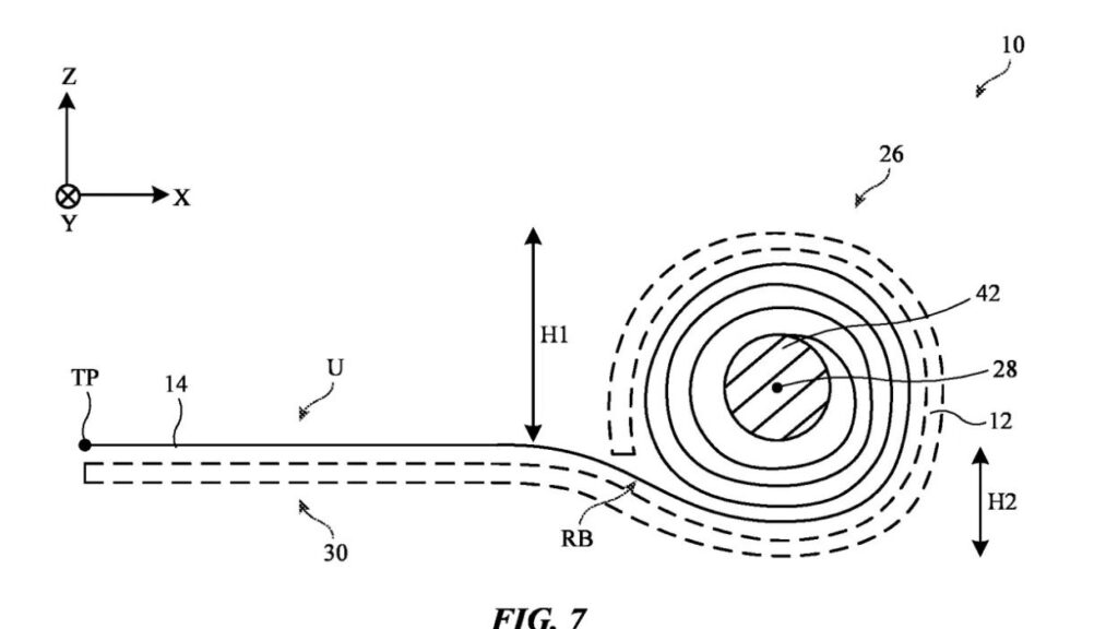
A device with a display that can be rolled up for storage and unrolled for viewing is the subject of the invention. When unrolled, the display would be planar, but when rolled, it would bend around an axis and be stored on a roller. For image production, the display may have pixels and a transparent protective layer, which may include a thin glass layer to facilitate bending.
The protective layer’s outward-facing surface may be exposed to objects that cause scratches. Surface irregularities are less likely to occur on the inward-facing surface. By rolling the display in such a way that the outward-facing surface receives compressive stress, Apple plans to prevent glass layer cracking. Whenever the display is rolled, any scratches would be prevented from damaging it.
The rollable sector has already been actively explored by several companies, including LG, OPPO, and Motorola. Several rollable TVs are available for purchase, and LG has also announced plans for a rollable phone. Video leaks suggest LG’s concept rollable phone with an extended screen was actually real, although the phone never reached the market.
Indications of a rollable iPhone are not necessarily implied by Apple’s patent filing. Rollable displays might also be applied to other products by the company. Apple is actually working on a foldable MacBook, which is expected to launch in 2026, although rollable screens are a long way off.





