Samsung has now filed a new patent for its upcoming smartwatch Samsung Gear X.As per patents, the new smartwatch can now track blood pressure.
As per leaked images, the upcoming Samsung Gear X is having a square-shaped display similar to older gen of Gear smartwatch but the upcoming smartwatch might have a different design as these are just made for illustration.
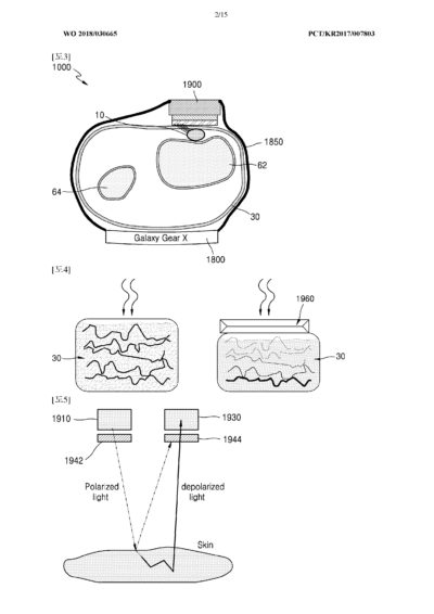
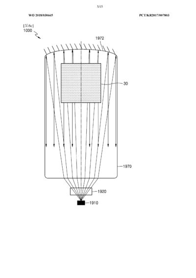
Samsung upcoming smartwatch will feature polarised and depolarised light to track the blood pressure through the skin and will display the data directly on the screen.Probably the upcoming smartwatch might be for a health-related purpose and not for fitness as we saw on the current gen of Samsung Gear smartwatches.
Apart from this, the smartwatch will also include the numeric keypad so that one can make calls directly from the smartwatch.It also includes the NFC probably for Samsung pay.Apart from this, there are no more details leaked. We are still not sure whether Samsung will ever launch such a smartwatch with Blood pressure sensor enabled in the future as of now.




