After Samsung and LG we have many other Chinese brands like Huawei, Oppo, and Vivo to filed many patents for the future of technology the foldable smartphone. Now we have another popular brand Motorola trying to impress with their new foldable phone.
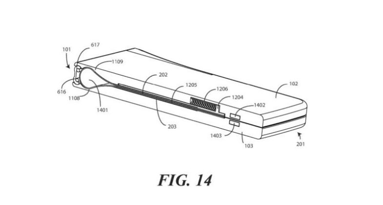
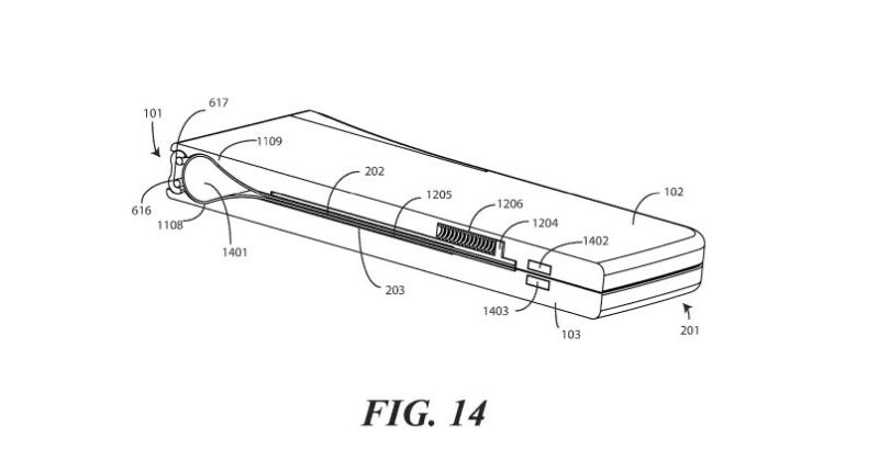
As per the USPTO, Motorola had filed the patent for the flexible smartphone in May 2017 which has been recently published on the website. After focusing on unbreakable display Motorola is now betting big with a foldable smartphone. As per the patent, we can see the new Motorola Foldable phone will not come with foldable display and will rely on the hinge similar to Samsung implementation.
As per the sketches we can expect the Motorola foldable phone will have flip-phone like form factor with single display bent with the help of hinge. The upper half of the back will come with a rear camera and loudspeaker on the bottom of the device. The new patent also mentionsĀ an optional flex sensor which might be used to detect the phone is folded or not.
Apart from that, the sketches also reveal that the upper part of the display features a search bar whereas the lower part with app shortcuts which comes with new UI when compared with present stock UI.




