Lenovo earlier teased their first Full-screen smartphone which will be called the Lenovo Z5 and is launching on June 12. Today we have a new patent filed by Lenovo but not for a smartphone instead it is for a Hybrid laptop with tri-fold display.
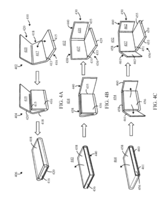
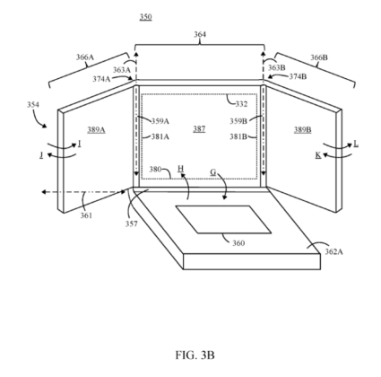
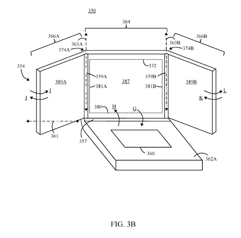
Lenovo has successfully filed the new patent with WIPO for its innovation of triple foldable display hybrid laptop and the documents were published on WIPO site in mid-April. Lenovo had filed the patent in 2016 for a Hybrid laptop with “flexible display with multiple viewing regions.” The laptop will feature OLED panel which can be folded both inward and outwards and offer a triple display for professionals who are into video editing or any other fields.
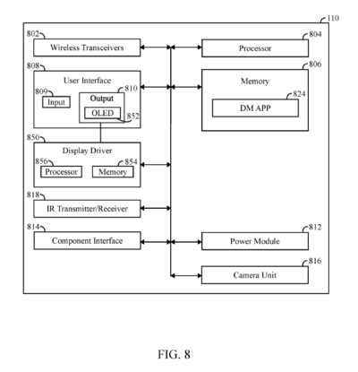
The foldable display is having a screen on both sides which allows the user to fold the laptop and use from either side and will be helpful for multi-player gaming or showing presentation. The patent doesn’t mention whether the display used is touched sensitive or not. But both the foldable screen will have a selfie camera with mic.
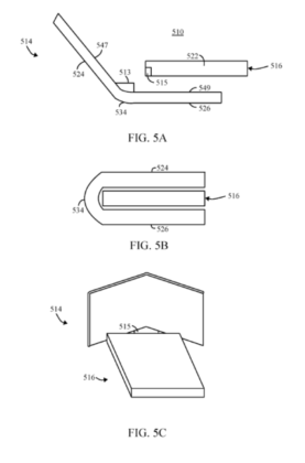
The above patent has been applied for both Dual and Triple fold display Hybrid laptop as per WIPO.




