Earlier Samsung had filed a series of patents for its rumored foldable smartphone and today we have one more new patent filed by Samsung for the upcoming foldable smartphone the Samsung Galaxy X.
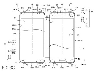
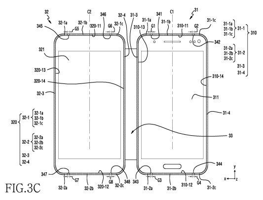
As per leaked documents, we can see the drawings of the device which looks similar to recently announced ZTE Axon M foldable smartphone, as now it has a metal frame attached between two screens which are termed as coupling.Now the two screen can be enlarged when opening with a gap at the center and when closed two screens are folded back so screen facing each other are protected against damages.
The patent also reveals that all the antenna bands will be embedded into the frame of the display which might cause some network issues in real time usage so we can’t expect Samsung will use the similar design for its upcoming Foldable smartphone.
The patent also mentions there will be support for S-Pen with a pen sensor been listed in the patent.There is also biometric features probably the fingerprint scanner or might be the heart rate sensor as Samsung will include in every flagship smartphone.
We are not sure whether Samsung will launch device something like this in the future.








